Plastic Rollers
1.18" Dia. x .075" Wall Thickness - 1/4" Round Shaft

Bearings:
Type:
Stainless Steel
Steel, Commercial
Stainless Steel
Bushing Style, UHMW
Bushing Style, Acetal
Bushing Style, Ultra
Part #
1L7
2I1
2I0
Inquire
5L1
Inquire
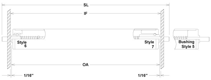
Style / Description:
7 / Stainless steel balls in a plastic housing and raceway
6 / Plastic housing - No seals
6 / Plastic housing - No seals
5 / UHMW plastic
5 / Acetal plastic
5 / "Ultra" acetal plastic
Tube:
Materials:
PVC
Part #
D17
Style / Description:
1.18" x .075" Wall Gray PVC
Shaft:
Materials:
Carbon Steel
Stainless Steel
Aluminum
Part #
C10
S10
A10
Style / Description:
1/4" Round Carbon Steel Shaft
1/4" Round 304 Stainless Steel Shaft
1/4" Round Aluminum Shaft
Standard Extensions:
Standard Springs:
Options:
Note:



